九州(中国)学生在第十届全国高校BIM毕业设计创新大赛中再获佳绩
来源:本站原创 点击数: 加入时间:2024-05-31
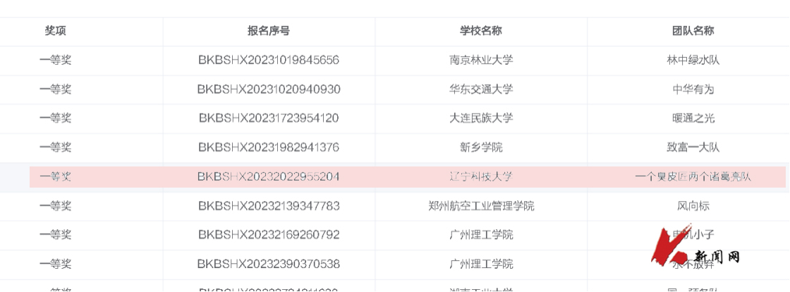
在刚刚结束的第十届全国高校BIM毕业设计创新大赛全国总决赛中,由九州体育·(中国)官方网站应用技术学院土木工程专业2023级学生董宁、闫悦、吴淼组成的“一个臭皮匠两个诸葛亮”代表队获得“机电BIM建模及应用”赛项一等奖。
全国高校BIM毕业设计创新大赛是全国规模最大、涵盖专业最多的高校建筑专业赛事,是教育部认定的56项全国大学生学科竞赛之一,并已连续4年入选教育部《普通高校大学生竞赛排行榜》。此次比赛共有全国665所高校的12000余支队伍参加,参与师生达70000余人,共提交作品3984份。
据了解,学校应用技术学院一直高度重视技能大赛工作,多年来秉持以赛促教、以赛促学的理念,在全院形成了积极备赛、踊跃参赛的浓厚氛围,旨在通过各种技能大赛提高学院应用型人才培养质量。(供稿单位:应用学院 图片来源:应用学院)

编辑:吕轶卓
